Создать аккаунт
Главные новости » Софт и Железо » Nintendo запатентовала джой-коны с функцией мыши в Switch 2
Софт и Железо

Nintendo запатентовала джой-коны с функцией мыши в Switch 2

238
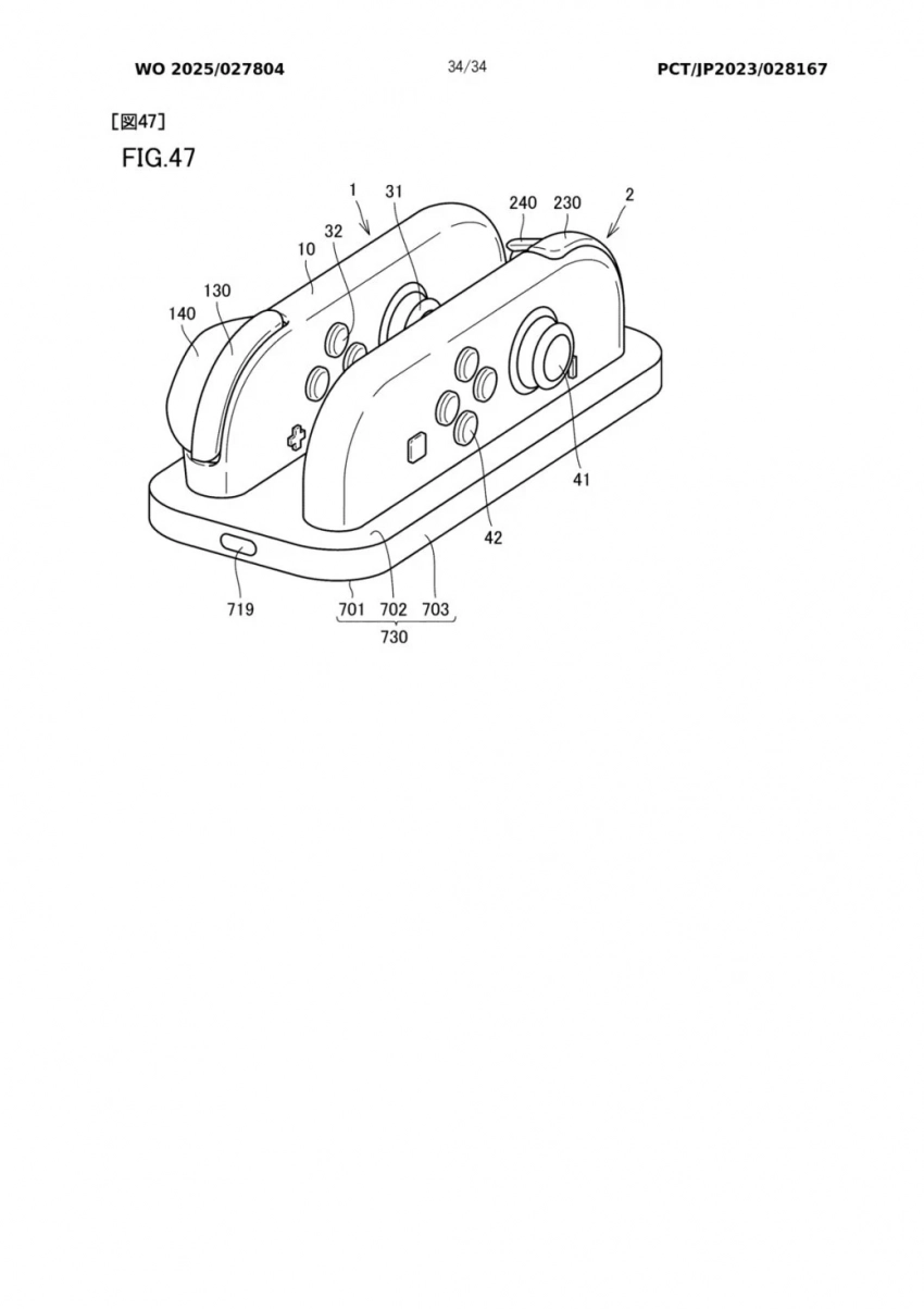
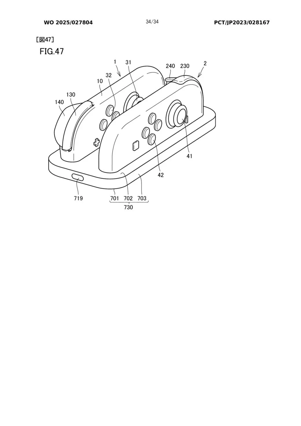
Ещё больше интересных видео на YouTube канале Игромании!Обложка: Nintendo Switch 2, патенты Nintendo Switch 2Nintendo официально запатентовала инновационную функцию контроллеров Joy-Con для Nintendo Switch 2 — новая система позволит использовать джой-коны в качестве беспроводной мыши. Эту особенность можно было увидеть как в трейлере консоли, так и в ранних утечках от разных инсайдеров.

Согласно опубликованному патенту, каждый джой-кон оснащён оптическим сенсором, который отслеживает движение по поверхности, аналогично компьютерной мыши. Игроки смогут управлять играми с помощью одного или двух контроллеров, используя их для точного наведения.

5 фото
Аналитики предполагают, что такая технология будет полезна в стратегических играх, например, Civilization 7, а также в шутерах вроде Call of Duty и Halo, которые Microsoft может портировать на консоль. Более того, двойное использование контроллеров в режиме «двух мышек» может раскрыть необычные игровые механики, например, управление роботом или механическими конструкциями.

Вслед за этим компания запантентовала и остальные составляющие консоли: например, внешний вид отстегивающегося механизма джой-конов и, вероятно, зарядную станцию самой Switch 2.

2 фото
Nintendo планирует подробнее рассказать об этой функции и других особенностях Switch 2 на предстоящем Nintendo Direct 2 апреля. Ожидается, что компания представит особенности консоли, линейку стартовых игр и объявит дату выхода устройства.
0 комментариев
Обсудим?
Смотрите также:
Продолжая просматривать сайт best-cheats.ru вы принимаете политику конфидициальности.
ОК